# 使用手册
# 系统登录
在联网的电脑打开浏览器,输入:http://pms.oa.system-code.vip/
输入用户名:ry,密码:111111;登录界面截图如下:

# 工作台
工作台可以直观看到快捷导航、进行中的项目、统计等动态信息

# 项目管理
点击左侧菜单项目管理->立项管理,新增、修改、编辑项目信息;立项管理功能具备三级审核即:工程部人员发起审核(user:luzhishen)->部门经理审核(user:linchong)->总经理审核(user:songjiang)-结束;三个用户的密码分别为:admin123,具体流程可以登录体验。

# 项目预算
点击左侧菜单项目管理->项目预算,新增、修改、编辑项目信息;模块列表看到的是对应项目动态数据(工程造价-预算总额=预期利润),该列表满足条件是需要立项通过审核。预算明细信息可以自动完成总项及分项计算结果;

# 投标管理
点击左侧菜单项目管理->投标管理,新增、修改、编辑项目信息;模块列表看到的是对应项目投标的开标时间、预警提醒;该列表满足条件是需要立项通过审核且立项信息是否投标选项为是;根据表单信息完善投标信息。

# 项目合同
点击左侧菜单项目管理->项目合同,新增、修改、编辑项目合同信息;模块列表看到的是合同金额、签到时间等信息;可以上传合同有关的附件文档;可对合同预览信息进行在线打印;

# 财务管理
# 项目账务
点击左侧菜单财务管理->项目账务,新增、修改、编辑项目账务进出账信息;模块列表看到的动态数据是项目对应的收入、支出、应收数据;
入账和出账分别可以填写账务信息及明细,明细可以自动计算总项及分项金额;

# 日常账务
录入的出账数据与项目无关,比如:办公用品、公司公共开支等账务;同样可以总项分项自动计算入账、出账总额;

# 成本核算
成本管理呈现的数据是根据出账的类型(运作成本、人力成本、实际成本、管理成本)自动统计成本数据;

# 采购管理
点击左侧菜单项目管理->采购管理,新增、修改、编辑项目采购信息;模块列表看到的动态数据是对应项目采购的总金额;采购信息中采购明细可以分项及总项自动计算采购金额,同时可以进行在线打印;

# 施工进度
点击左侧菜单项目管理->施工进度,新增、修改、编辑施工进度信息;施工进度可以在字典管理里自定义施工进度类型(需求沟通、方案策划、...、最终验收),以新增任务模式把控进度管控,注意:只能逐级添加任务不可跨越;

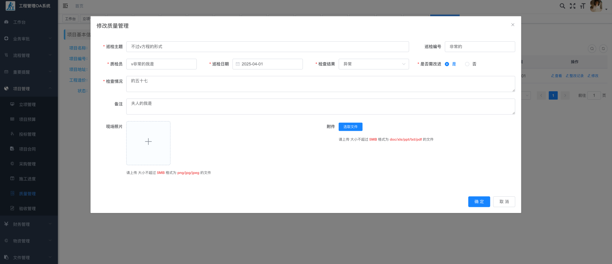
# 质量管理
点击左侧菜单项目管理->质量管理,新增、修改、编辑质量管理信息;模块列表看到的动态数据是巡检情况统计,巡检信息中是否需要改进字段信息如果选是,可以填写整改记录信息;

# 验收管理
点击左侧菜单项目管理->质量管理,新增、修改、编辑质量管理信息;

# 工作流
# 工作流集成
工作流集成国产warm-flow,轻便、灵活、可满足大多数业务审批需求;为满足大众之所集,业务审批菜单下请假申请做了个demo;

# 工作流扩展
在需要用到业务审批的表中增加流程的扩展字段,根据请假实例可以比着葫芦画瓢;

# 物资管理
点击左侧菜单物资管理->资产管理/资产分类,新增、修改、编辑项物资信息;

# 文件管理
点击左侧菜单文件管理->文件管理/文件分类,新增、修改、编辑文件信息;

# 知识库
点击左侧菜单知识库->文章管理/文章分类,新增、修改、编辑文章信息;
